关于PCB的保护走线的几个知识点
1、保护地线
工程界常常使用受保护地线进行隔离,来抑制信号之间的相互干扰。但并不是一直有效的,有时甚至会使干扰更加严重。
保护地线示意图如下所示:

2、模拟信号
假设走线是50Ω阻抗控制的,线宽是6mil,介质厚度是3.6mil,介电参数是4.5。并假设两路信号是载波频率为30Mhz,带宽为2Mhz的模拟信号。
下图显示了三种情况下的远端干扰情况。当线间距为6mil时,由于两条线紧密耦合,远端串扰较大。
把间距增加到18mil,远端串扰明显减小。在两条走形之间加入保护地线,地线两端使用过孔连接到地,远端串扰进一步减小。

3、数字信号
对于低频模拟信号之间的隔离,保护地线的确很有用。但对数字信号而言就不一样了,这里分表层微带线和内层带状线讨论。
表层微带线
继续使用上面的走线叠层结构,线宽是6mil,介质厚度是3.6mil,介电参数是4.5。干扰信号是上升时间Tr=200ps的阶跃波形。
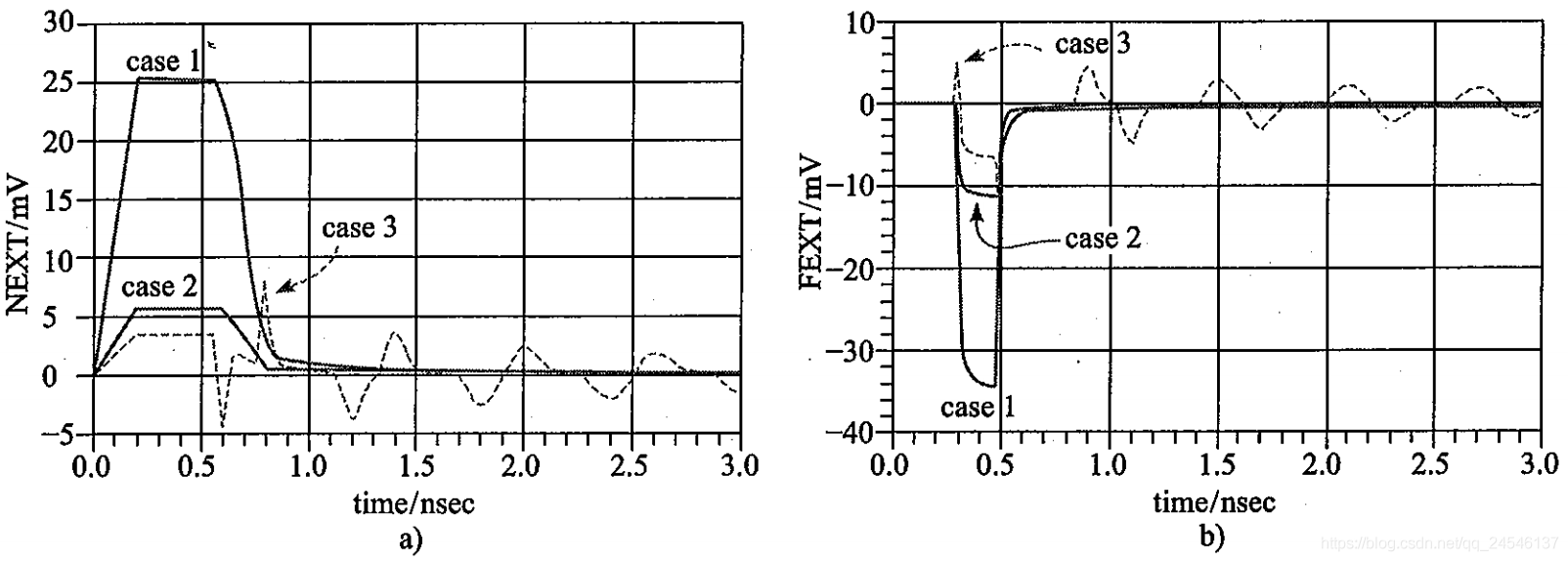
考虑以下三种情况,其中耦合段长度为2000mil。
Case1:两条走线间距为1W(一倍线宽)。
Case2:两条走线间距为3W
Case3:两条走线间距为3W,中间使用保护地线,并在两端打GND过孔。


上图显示了无论是远端串扰还是近端串扰,走线间距从1W增加到3W时,串扰都明显减小。在此基础上,走线间加入隔离地线,串扰情况反而加重了。
这个例子说明拉开走线间距最有效的减小串扰的方法。保护地线要想起应有的隔离作用,需要在地线上打很多过孔,过孔间距小于1/10λ,λ为信号中最高频率成分对应的波长。信号的3dB带宽可表示为:

3dB截止频点对应的波长为:

其中v表示信号在PCB上的传输速度,对于前面使用的层叠结构,信号的速度约为7mil/ps。
如果信号的上升时间Tr=200ps,则λ=4000mil。如果GND过孔间距小于400mil,保护地线可以进一步减小串扰,下图显示了GND过孔间距为400mil、200mil、走线间距为3W且没有保护地线三种情况下串扰噪声的比较。
因此,对于表层微带线,保护地线要想起到预期的作用,需要非常密集的GND过孔,信号上升时间越短,GND过孔就越密集。

内层带状线
对于内层走线,内层走线层叠如下:

介电常数为4.5,阻抗为50Ω。有以下三种情况,干扰信号是上升时间Tr=200ps的阶跃波形,入射信号幅度500mV,耦合长度为2000mil,近端串扰如下图,加入隔离地线,近端串扰进一步下降了。

对于表层走线来说,使用密集的GND过孔,对提高隔离效果是有好处的。但对于内层走线来说,使用密集的GND过孔几乎没有改善。

间距加大到5W时

当两条线间距增大到5W时,两种情况下近端串扰和远端串扰噪声波形如下图:

对于表层走线来说,走线间距很大时,中间再加入保护地线,几乎没有效果,如果处理不好反而会使串扰加重。

对内层走线来说,保护地线依然起很大作用,近端串扰信号波形如下图:

4、总结
保护地线对低频模拟信号的隔离通常是有效的。但是在数字信号之间的保护走线并不是那么有用,有时反而会起反作用。
对于表层走线,如果保护地线的GND过孔间距很大,可能使串扰更加严重,必须使用非常密集的过孔能起到隔离的作用。
对于内层走线,保护地线可以减小近端串扰。
微信小程序
浙公网安备 33010502006866号